خط إنتاج اليوريا(من 200,000 إلى 800,000 طن في السنة) Urea Production Line
نظام إنتاج اليوريا المتكامل الذي يستخدم عمليات إعادة التدوير الكاملة، وإزالة الأمونيا، وإزالة ثاني أكسيد الكربون لإنتاج اليوريا المحببة بكفاءة عالية
خط إنتاج اليوريا هو نظام متكامل لإنتاج اليوريا، مصمم لتحويل الأمونيا (NH3) وثاني أكسيد الكربون (CO2) بكفاءة إلى يوريا عالية الجودة. يدعم نظام الإنتاج عمليات صناعية متعددة، بما في ذلك عملية إعادة التدوير الكاملة، وعملية فصل الأمونيا، وعملية فصل ثاني أكسيد الكربون.
تستخدم اليوريا المنتجة بشكل أساسي كسماد نيتروجيني، ويمكن أن تكون أيضاً مادة وسيطة رئيسية لتصنيع راتنجات اليوريا- فورمالديهايد (urea-formaldehyde resins)، البولي يوريثان (polyurethanes)، راتنجات الميلامين- فورمالديهايد (melamine-formaldehyde resins)، فضلاً عن تطبيقاتها في المستحضرات الصيدلانية، المواد المتفجرة، معالجة الجلود، عوامل التعويم، الأصباغ، وإزالة الشمع من البترول.
- عملية إعادة التدوير الكاملة
- عملية إزالة ثاني أكسيد الكربون (CO₂)
- عملية إزالة الأمونيا
تعد عملية إعادة التدوير الكاملة تقنية كلاسيكية لإنتاج اليوريا (urea)، وقد تم اعتمادها على نطاق واسع منذ ستينيات القرن الماضي. وقد أسهمت هذه العملية إسهام كبير في التطور الصناعي لليوريا من خلال زيادة طاقة المصانع بشكل كبير مع تقليل استهلاك الأمونيا وثاني أكسيد الكربون.
- الأمونيا السائلة: NH₃ ≥ 99.5%، ماء ≤ 0.5%، محتوى الزيت ≤ 10 مليجرام لكل كيلو جرام
- ثاني أكسيد الكربون: CO₂ ≥ 98.5% (حجمي)، H₂S ≤ 15 مليجرام لكل متر مكعب
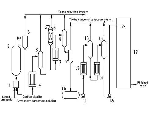
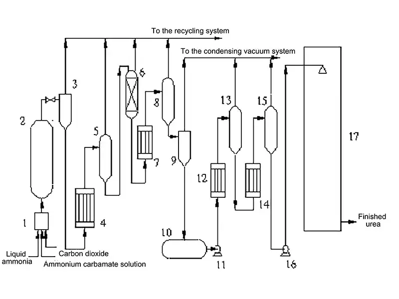
يغذى المفاعل الأولي بالأمونيا السائلة المسخنة مسبقاً، ثاني أكسيد الكربون المضغوط، محلول كربامات الأمونيوم المعاد تدويره، حيث تتفاعل الأمونيا مع ثاني أكسيد الكربون لتكوين كربامات الأمونيوم.
ثم يدخل مزيج التفاعل إلى مفاعل تخليق اليوريا، حيث تجفف كربامات الأمونيوم لتكوين اليوريا.
تتدفق اليوريا المنصهرة إلى فاصل أولي، حيث تفصل الأمونيا عن كربامات الأمونيوم. يخضع محلول الكربامات لعملية تحلل واستخلاص على مراحل من خلال أنظمة تحلل وفصل متوسطة ومنخفضة الضغط، مع استخدام التسخين بالبخار لتعزيز تحلل الكربامات بشكل أكبر.
بعد تخفيض الضغط والتبخر، تتم إزالة الأمونيا المتبقية وكربامات الأمونيوم بكفاءة. ثم يركز محلول اليوريا باستخدام أنظمة تبخير متوسطة ومنخفضة الضغط تحت مستويات فراغ مختلفة. تركيز اليوريا المنصهرة لا يقل عن99.7 wt% ، ويضخ إلى برج التكوير، حيث ترش اليوريا المنصهرة وتتصلب لتشكل حبيبات يوريا متجانسة.
مخطط تدفق عمليات المعالجة:- مفاعل أولي
- مفاعل تصنيع اليوريا
- فاصل أولي
- سخان دوران متوسط الضغط
- فاصل دوران متوسط الضغط
- عمود التقطير
- سخان دوران منخفض الضغط
- فاصل دوران منخفض الضغط
- خزان التبخير السريع
- خزان تخزين محلول اليوريا
- مضخة محلول اليوريا
- سخان تبخير المرحلة الأولى
- فاصل تبخير المرحلة الأولى
- سخان تبخير المرحلة الثانية
- فاصل تبخير المرحلة الثانية
- مضخة اليوريا المنصهرة
- برج التكوير
برج إزالة الكبريت، مفاعل تصنيع اليوريا، خلاط عالي الضغط، سخان تحلل متوسط الضغط، فاصل تحلل متوسط الضغط، ماصة متوسطة الضغط، مكثف الأمونيا، عمود التقطير والفصل منخفض الضغط، ماصة منخفضة الضغط (مكثفا الكربامات الأول والثاني)، برج امتصاص الأمونيا
في عملية إزالة ثاني أكسيد الكربون، يتدفق محلول تخليق اليوريا إلى برج إزالة، حيث يتدفق غاز ثاني أكسيد الكربون عكسياً عند درجة حرارة مرتفعة. ويعمل التسخين بالبخار على جانب الغلاف على تعزيز تحلل وامتصاص الأمونيا الزائدة وكربامات الأمونيوم.
بعد عملية الإزالة، يسحب محلول اليوريا من أسفل البرج، ثم يفصل الغاز عن السائل. يخضع المحلول الناتج، المكون أساساً من اليوريا والماء، للتبخير بالتفريغ الهوائي للوصول إلى تركيز اليوريا المطلوب قبل التصلب النهائي.
- مفاعل إنتاج اليوريا
- برج التقطير
- عمود التقطير
- مسخنات التدوير
- مكثف الكربامات عالي الضغط
- جهاز غسل عالي الضغط
- برج الامتصاص
- مكثف الكربامات منخفض الضغط
- خزان التسوية
- جهاز الامتصاص
- عمود التحليل
- مضخة دوران جهاز الامتصاص
- مكثف الدوران
- مضخة الدوران
- المبرد
- مضخة الكربامات عالية الضغط
- مضخة دوران جهاز الامتصاص
- مبرد دوران جهاز الامتصاص
- مضخة السائل البارد لخزان التبخير
- مضخة تغذية عمود التحليل
- مبادل حراري لعمود التحليل
- مضخة معززة لتغذية برج الامتصاص
- مبرد التغذية العلوي
- خزان الأمونيا
تتكون عملية استخلاص الأمونيا من الأقسام الرئيسية التالية:
- ضغط ثاني أكسيد الكربون
- ضغط الأمونيا السائلة
- التخليق عالي الضغط واستخلاص الأمونيا
- التحلل وإعادة التدوير متوسط الضغط
- التحلل وإعادة التدوير منخفض الضغط
- أنظمة استخلاص مشتركة متوسطة ومنخفضة الضغط
- التبخير الفراغي والتحبيب
- نظام الامتزاز والتحلل المائي
شركة Delandi (Nantong) Machinery تكرس جهودها لتطوير صناعة الأسمدة، مع التركيز على تصميم العمليات، وتصنيع معدات الإنتاج، وتحسين أداء الإنتاج لمشاريع تصنيع الأسمدة. نحن نجمع فريق من المهنيين ذوي الخبرة والمعرفة التقنية العميقة والخبرة الطويلة في هذا المجال.





